燃油取暖器日常保養和維護2018-10-19
|
日常檢驗維修 |
1、在檢查維護時,必須停火,拔下電源;
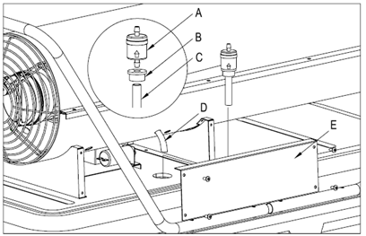
2、在維護時,油箱里不可以有油。◆ 濾清器的更換
檢查過濾器變臟時,請更換新的濾清器。
1、用十字螺絲刀將側板打開,將濾清器上的進油管拔出。
2、用一字螺絲刀將出油塞從油箱內取出,拔下透明油管。
3、更換新的濾清器,套上透明油管和出油塞,塞入油箱,接上進油管(如下圖)
當油箱內存有垃圾和水時,請進行清潔和除水。
除水方法(如下圖)
1、 將取暖機放在臺子上,油箱下放置盛油器;
2、 用扳手松下排水螺栓,將內部水和垃圾一起排除;
3、 水和垃圾排除后,請將排水螺栓旋緊,并將油和水擦干凈。






